跑偏開關 發布時間:2019-03-04 已獲點擊:85 詳細說明 廠家直供跑偏開關YHDPK 一、概述 JHFP型兩級跑偏開關" />

產品型號:YHDPK
發布時間:2019-03-04
已獲點擊:85
詳細說明
一、概述
JHFP型兩級跑偏開關適用于檢測帶式輸送機膠帶的偏離和扭曲,防止由此造成的膠帶邊緣的磨損或物料的脫落。開關具有兩級動作功能,一級動作用于報警,二級動作用于停機。是用于檢測帶式輸送機輸送帶跑偏量的產品,對于輸送帶在出現跑偏的情況下起到自動報警和停機的一種安全保護裝置
本機性能可靠,防護性好,使用與安裝:防偏開關可固定在輸送機縱梁頂部或底部,動作桿距皮帶邊緣約25mm。通常安裝在皮帶兩側距頭部或尾部0.3-2米的地方。當皮帶跑偏時,迫使動作桿偏離,觸動報警開關。兩級跑偏開關如果繼續偏離,觸動別一組開關,輸送機就會保護性停機。,廣泛應用于冶金、電力、煤炭、化工、港口及水泥等行業,是帶式輸送機重要的保護設備。
隔爆型兩級跑偏開關適用于煤礦井下有瓦斯、煤塵爆炸危險的環境。
二、技術參數
1.環境溫度 -20℃~60℃
2.相對濕度 ≤95%
3.大氣壓力 80~106MPa
4.輸出接點 兩常開兩常閉兩組接點
5.接點容量 AC250V 15A AC500V 10A (阻性負載)
6.絕緣電阻 100MΩ
7.耐 壓 1000V AC、50/60Hz、1min
8.立輥動作角度
9. 作 用 力 20N~37N
10.防護等級 IP67
11.防爆形式 ExdⅠ
12.壽 命 10萬次
三、工作原理 廠家直供跑偏開關YHDPK
當運行中的膠帶發生偏離或扭曲時,則擠壓跑偏開關的立輥,跑偏開關(Belt Sway Switches)又稱防偏開關。兩級跑偏開關用于檢測帶式輸送機運行中的跑偏現象,按皮帶實際跑偏量輸出報警或停機信號,可有效的防止由皮帶跑偏而產生的事故。
跑偏開關起帶式輸送現場的保護作用,因此必須達到指定的IP防護等級。 兩級跑偏開關分兩個位置檢測輸送機皮帶的跑偏程度和扭曲程度。根據皮帶的跑偏程度和扭曲程度,實現自動報警和停機,避免昂貴的輸送皮帶受損壞及因皮帶扭曲造成的物料散落等事故。此開關安裝方便,運行可靠,是帶式輸送機必備的保護裝置之一。,并使之偏移,DDP-LJ2兩級跑偏開關適用于皮帶輸送機,能使皮帶輸送機在皮帶跑偏將導致嚴重掛邊磨損甚至發生撕裂事故前就發出報警信號以及進一步的自動停車。
能及時有效的保護設備安全、避免事故擴大化,達到保障生產、保護設備的目的。另外由于信號可發送至控制系統,方便實現工廠自動化控制,因此又可達到減員增效,集中控制,利于生產與調度的目的。,如偏移大于一級轉換角度時,輸出一組報警信號;若繼續偏移大于二級轉換角度時,則輸出一組停機信號。一級開關轉換信號可接入跑偏自動調整裝置,用于校正膠帶的偏移和扭曲。故障排除后,立輥自動復位。
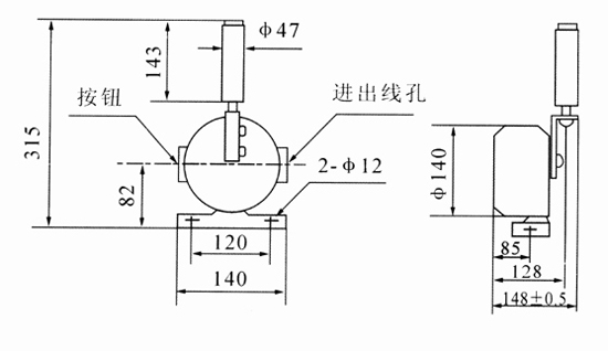
JHFP型跑偏開關結構見下圖

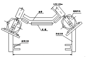
四.安裝與接線
1.跑偏開關成對安裝在膠帶兩側機架上,每間隔25~35m安裝1對。通常在傳送帶的頭部和尾部各用一對。
2.將安裝支架焊在膠帶兩側機架上,再將跑偏開關固定在支架上,安裝后應滿足下述條件:
a.立輥軸線與膠帶平面垂直,立輥母線與膠帶邊緣距離L=50~80mm。
b.膠帶位于立輥下端1/2~1/3處。
安裝方式見下圖

兩級跑偏開關用于常規皮帶輸送機:地下、索道支撐皮帶輸送機:輪船裝卸系統;堆垛/取料輸送機;傾斜和梭式輸送機;起重機、挖掘機,起重臂限位:裙邊給料機/輸送機:重型極限開關檢測膠帶的跑偏量,是實現膠帶機控制的自動報警和停機的保護裝置。廣泛用于冶金、煤炭、水泥建材、采礦、電力、港埠、冶金、化工等領域的各種帶式輸送設備。
YHDPK跑偏開關
JHFP-20-35跑偏檢測器
YHXPK皮帶機防偏開關
Copyright © 山東卓信機械有限公司 版權所有 魯ICP備12019670號
全國服務電話:0537-2839666 傳真:0537-2228358 百度地圖 打滑開關
公司地址:山東省濟寧高新經濟技術開發區 音叉開關