跑偏開關 發布時間:2018-09-04 已獲點擊:182 詳細說明 跑偏開關、XLPP-20-45," />

產品型號:XLPP-12-30、XLPP-20-45
跑偏開關、XLPP-20-45,兩級跑偏傳感器、皮帶跑偏保護
兩級跑偏開關強度高,重量輕,開關采用進口的行程開關,觸點容量大、動作靈敏,使用壽命長。密封性好,具有防塵、防震、防防腐等優點,兩級跑偏開關適用范圍 兩級跑偏開關用于常規皮帶輸送機:地下、索道支撐皮帶輸送機:輪船裝卸系統;堆垛/取料輸送機;傾斜和梭式輸送機;起重機、挖掘機,起重臂限位:裙邊給料機/輸送機:重型極限開關檢測膠帶的跑偏量,是實現膠帶機控制的自動報警和停機的保護裝置。兩級跑偏開關廣泛用于冶金、煤炭、水泥建材、采礦、電力、港埠、冶金、化工等領域的各種帶式輸送設備。,外殼防護等級達IP67,可在惡劣的環境中長期工作。
兩級跑偏開關
工作原理
當運行中的膠帶發生跑偏現象時,膠帶邊緣帶動立棍旋轉并擠壓使之傾斜,若立棍傾斜角度大于一級動作角度時,開關發出一組開關信號,如立棍繼續傾斜大于二級動作角度時則輸出另一組開關信號。兩組開關信號可分別用于告警或停機,膠帶機復位正常運行后,立棍自動復位。
結構特性
采用鋁合金精密壓鑄殼體,強度高,輸送機在運行中,當皮帶跑偏且與開關立輥接觸時,立輥自轉,若跑偏量繼續加大,則擠壓立輥發生偏移。一級開關信號用于報警,如果將此信號與跑調整裝置相接,即可實現不停機狀態下的跑偏自動調整。二級兩級跑偏開關信號用于停機,將此信號接至控制線路中,即可實現重度跑偏狀態下的自動停機。當故障排除后,膠帶離開立輥正常運轉時,立輥可自動復位。,重量輕,開關采用進口的行程開關,觸點容量大、動作靈敏,使用壽命長。密封性好,具有防塵、防震、防防腐等優點,外殼防護等級達IP65,可在惡劣的環境中長期工作。
環境溫度:-30℃~+50℃;相對溫度:不大于85%
XLPP-12-30、XLPP-20-45、兩級跑偏開關
產品介紹:兩級跑偏開關主要應用在冶金 、電力 、煤巖 、礦山及化工等行業的輸送系統中 ,是輸送機自動化控制不可缺少的傳感元件,本產品可用于輸送機膠帶跑偏的檢測,防止由于膠帶跑偏而造成物料溢出等故障。本產品由于安裝方便、開關性能可靠,在輸送機膠帶中得到廣泛應用 。本產品內部采用儀器儀表防爆安全監督檢驗站(NEPSI)認可,符合GB12476.1-1990標準所規定的要求 。
◆ 使用環境條件:
a.環境溫度:-40℃~60℃
b.相對濕度不大于85%
c.海撥高度不超過2000m
d.使用壽命:開關動作10萬次
e.絕緣電壓:AC1000試驗1分鐘
f.觸點容量:≤AC380 ≤3A
g.防護等級:IP65
型號
作用力
觸點數量
開關動作角度
常開
常閉
一級
二級
極級角
XLPP-12-30
20~70N
2
2
12°
30°
70°
XLPP-10-45
20~70N
2
2
10°
45°
70°
XLPP-20-35
20~60N
2
2
20°
35°
75°
KPT1-12-30
20~70N
2
2
12°
30°
70°
KPT1-10-45
20~70N
2
2
10°
45°
70°
KPT1-20-35
20~60N
2
2
20°
35°
75°


跑偏開關、XLPP-20-45,兩級跑偏傳感器、皮帶跑偏保護
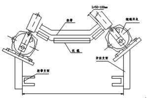
, 兩級跑偏開關安裝和調整 1.跑偏開關設在輸送帶兩側,立輥應與輸送帶邊平面垂直,并使輸送帶兩邊位于立輥高度1/3處。 2.跑偏開關立輥與輸送帶正常位置的間距宜為50~100mm。 3.跑偏開關數量應根據輸送機長度、類型及布置情況進行確定。兩級跑偏開關一般應在輸送機頭部、尾部、凸弧段、凹弧段和在輸送機中間位置進行設置。(注:當輸送機較長時,在輸送機中間位置可每隔30~35米設1對) 4.跑偏開關應通過安裝支架與輸送機中間架連接,開關支架應在輸送機安裝完成后與輸送機機架焊接,跑偏開關與跑偏開關支架用螺栓固定。
Copyright © 山東卓信機械有限公司 版權所有 魯ICP備12019670號
全國服務電話:0537-2839666 傳真:0537-2228358 百度地圖 打滑開關
公司地址:山東省濟寧高新經濟技術開發區 音叉開關